工商營業執照代辦理優化案例
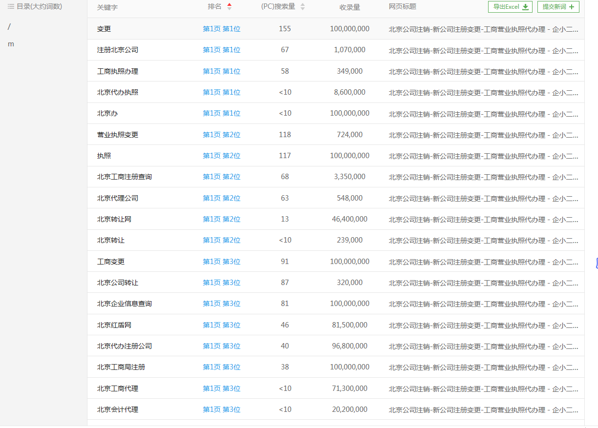
標題:北京公司注銷-新公司注冊變更-工商營業執照代辦理 - 企小二代理記賬
關鍵詞:北京代辦執照,北京代理記賬,北京公司變更,北京公司注冊,北京公司注銷,北京辦營業執照,北京工商注冊,北京注冊公司
描述:企小二(北京)企業服務有限公司專注北京周邊地區新公司注冊、代理記賬、公司注銷、公司變更、工商代辦、營業執照代辦理等服務,企小二作為政府授權,天使輪投資為企業提供高新企業認定、商標注冊等一站式企業服務!


工商營業執照代辦理優化案例
標題:北京公司注銷-新公司注冊變更-工商營業執照代辦理 - 企小二代理記賬
關鍵詞:北京代辦執照,北京代理記賬,北京公司變更,北京公司注冊,北京公司注銷,北京辦營業執照,北京工商注冊,北京注冊公司
描述:企小二(北京)企業服務有限公司專注北京周邊地區新公司注冊、代理記賬、公司注銷、公司變更、工商代辦、營業執照代辦理等服務,企小二作為政府授權,天使輪投資為企業提供高新企業認定、商標注冊等一站式企業服務!


資深SEO專家 | 20年行業經驗
AI將徹底重構SEO的底層邏輯,搜索不再是 "關鍵詞匹配" 的算法,而是 "用戶意圖理解" 的競爭。以 Google MUM、百度文心一言為代表的大模型,正在讓搜索引擎具備跨模態、跨領域的深度語義分析能力。這意味著,AISEO的核心將從 "優化頁面" 轉向 "構建能被AI識別的價值生態"。
AI模型專家 | 23年行業經驗
AI不會取代SEOer,但 "不會用 AI的SEOer"會被取代。未來的 AI SEO 從業者,核心能力將從 "執行優化" 轉向 "AI策略指揮"。用AI數據分析工具快速定位用戶搜索痛點;判斷哪些領域適合AI批量布局,哪些領域需要人工深耕建立壁壘,本質上是通過AI的策略能力,而非被AI工具牽著走。
AI運營專家 | 18年行業經驗
AI應用的趨勢是:"通用大模型+行業知識庫+場景調優"成標配。工業實現全流程優化,醫療升級個性化方案,零售打通全鏈路經營。同時人機協同深化,AI解放重復勞動,人類聚焦策略創意,成為企業降本增效、創造增量價值的核心引擎。
資深SEO專家 | 20年行業經驗
未來三年,AI 將徹底重構 SEO 的底層邏輯,搜索不再是 "關鍵詞匹配" 的游戲,而是 "用戶意圖理解" 的競爭。以 Google MUM、百度文心一言為代表的大模型,正在讓搜索引擎具備跨模態、跨領域的深度語義分析能力。這意味著,AI SEO 的核心將從 "優化頁面" 轉向 "構建能被 AI 識別的價值生態"—— 內容生產會更依賴 AI 輔助的 "用戶需求預判",外鏈和權威度的評估標準也將融入 AI 對內容關聯性的動態分析,傳統 SEO 的 "技巧紅利" 將逐漸消失,"價值紅利" 成為唯一通行證。
感謝您的留言:在網站優化中,相信大家最不希望看到的就是網站的降權了。導致網站降權的原因有很多,而最讓人忽視的一項就是過度優化了,那么哪些地方可能會導致過度優化現象的存在呢?
偽原創內容值得做嗎?
感謝您的留言:互聯網顧名思義它是一個相互聯通的網絡,像我們網站似的,互換了友情鏈接就可以鏈接在一起,讓用戶點擊訪問進來,那么網站之間交換友情鏈接對網站會起到哪些作用呢?下面云無限網站優化為大家介紹一下:
網站權重怎樣提高呢?
感謝您的留言:在我們進行網站優化的時候,權重對于網站來說很重要,什么是網站權重呢?網站權重是指搜索引擎給網站賦予了一定的權威值,對網站權威的評估。一個網站權威越高,在搜索引擎的份量就越大,排名就會越好。
網站優化過度后要怎么處理?
感謝您的留言:網站的價值就是給企業帶來更多的經濟效益,因此大家在網站優化時要做好基礎方面,避免影響到下面的優化工作,下面中濤科技小編給大家分享網站優化基礎方面的注意事項有什么?
網站站內優化步驟都有哪些?
感謝您的留言,我們會盡快回復。
有任何問題或需求,請填寫以下表單,我們會盡快與您聯系
云無限依托AI技術,為企業提供營銷、運營及數據分析全場景支持,構建"AI+營銷"與"AI+運營"雙引擎服務模式。該模式不僅配備芯大腦輿情分析系統,更具備用戶行為數據的深度挖掘與精準洞察能力,為企業決策提供數據支撐。
通過AI大模型與新媒體高效協同,可助力企業搭建"內容生產-流量捕獲-商業轉化"的全鏈路增長閉環,驅動業務持續提升。從算法策略優化到品牌聲量管理,云無限始終以實戰成效為導向,幫助企業在數字浪潮中把握發展機遇,強化競爭優勢。
20+
行業經驗
3000+
服務客戶
5000+
成功案例
70+
專業團隊
18810118859 / 邢經理
北京市朝陽區東四環中路39號,華業國際中心B座212室
用戶1
2020/2/19 17:59:50網站關鍵詞優化需要具備哪些條件?